全球最实用的IT互联网站!
人工智能P2P分享搜索全网发布信息网站地图标签大全
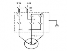
单相电动机双电容的接线方法
阅读全文2023-02-28
齿轮的主要参数以及结构形式
直流电机型号含义_直流电机怎么测量好坏
直流电机调速公式_直流电机接线方法
详细解读P4电驱桥四驱技术方案
变频器f004是什么故障 变频器常见故障
传感器与plc的连接线路图解 电气工程师必看的
单相电机怎么接线_单相电机正反转接法
变频电机与伺服电机的区别
变频电机的输出功率与频率曲线
pwm控制的基本原理
日本HarmonicDrive哈默纳科谐波减速机的三大
支持工业4.0工厂的大规模定制、高质量和
机器视觉系统的主要工作流程是怎样的
CPU | 内存 | 硬盘 | 显卡 | 显示器 | 主板 | 电源 | 键鼠 | 网站地图
Copyright © 2025-2035 诺佳网 版权所有 备案号:赣ICP备2025066733号 本站资料均来源互联网收集整理,作品版权归作者所有,如果侵犯了您的版权,请跟我们联系。