全球最实用的IT互联网站!
人工智能P2P分享搜索全网发布信息网站地图标签大全
TVS二极管和ESD二极管关键选型参数解析,超全面
阅读全文2023-03-20
MOSFET特性参数详解
C2000系列DSP移相同步功能的缺陷
模电基本知识科普
H桥交流电压采样电路原理讲解
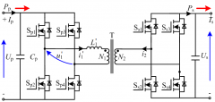
浅析几种常见的PFC拓扑
智能数模转换器科普
使用智能数模转换器生成脉宽调制信号
详解稳压二极管的特性、参数及电流计算
GaN要快速扩散至各应用领域仍有层层关卡待突破
数字电压表设计教程之LTC2308数据手册解读
慧能泰负载开关HUSB305A产品介绍
德州仪器新型单级转换器助力微型逆变器
IGBT短路失效分析
CPU | 内存 | 硬盘 | 显卡 | 显示器 | 主板 | 电源 | 键鼠 | 网站地图
Copyright © 2025-2035 诺佳网 版权所有 备案号:赣ICP备2025066733号 本站资料均来源互联网收集整理,作品版权归作者所有,如果侵犯了您的版权,请跟我们联系。